If you are looking for prime number chart pdf printable math worksheets tim s printables you've visit to the right web. We have 99 Images about prime number chart pdf printable math worksheets tim s printables like prime number chart pdf printable math worksheets tim s printables, prime numbers chart and also prime numbers chart four awesome printables. Here you go:
Prime Number Chart Pdf Printable Math Worksheets Tim S Printables

A prime number is a number that is only divisible by . First, take the number n as input.
Prime Numbers Chart

A prime number chart is a useful tool to help kids memorize all the prime numbers between 1 and 100. The prime numbers between 1 and 100 are highlighted in green.
Prime Numbers Chart Four Awesome Printables

The prime numbers between 1 and 100 are highlighted in green. (greater than 1) can be .
Prime Numbers Chart Tim S Printables

2 79 191 311 439 577 709 857. In this c program to return prime numbers from 1 to 100, we used the nested while loop along with multiple if statements to get the output.
Prime Numbers Chart Pdf By Tim S Printables Teachers Pay Teachers

(greater than 1) can be . It is the same as .
Prime Number Chart Pdf Printable Math Worksheets Tim S Printables

Read and write the numbers, and then perform operations like addition and . (greater than 1) can be .
Number Sheet 1 100 To Print Prime Numbers Number Definition Printable Chart

(greater than 1) can be . A prime number chart is a useful tool to help kids memorize all the prime numbers between 1 and 100.
Free Printable Prime And Composite Number 1 100 Charts Pdf Number Dyslexia

Prime numbers between 1 and 1000. The prime numbers between 1 and 100 are highlighted in green.
Prime Number Chart Pdf Printable Math Worksheets Tim S Printables

First, take the number n as input. It is the same as .
Prime Numbers Chart Four Awesome Printables

2, 3, 5, 7, 11, 13, 17, 19, 23, 29, 31, 37, 41, . In this c program to return prime numbers from 1 to 100, we used the nested while loop along with multiple if statements to get the output.
Prime Numbers Chart

The first prime numbers chart has the 25 prime numbers that are in the first 100 numbers (in sequential order: The prime numbers between 1 and 100 are highlighted in green.
Printable List Of Prime Numbers Prime Numbers Composite Numbers The Number 1 Is Neither Prime Studying Math Gcse Math Math Lessons

2 79 191 311 439 577 709 857. A prime number chart is a useful tool to help kids memorize all the prime numbers between 1 and 100.
Prime Numbers Chart By Kasey Nichols Teachers Pay Teachers

A prime number is a number that is only divisible by . (greater than 1) can be .
Prime Number Table Worksheet Prime Numbers To 100 Ks2

In this c program to return prime numbers from 1 to 100, we used the nested while loop along with multiple if statements to get the output. The prime numbers between 1 and 100 are highlighted in green.
Prime Numbers 1 100 Poster

A prime number chart is a useful tool to help kids memorize all the prime numbers between 1 and 100. 3 83 193 313 443 587 719 859.
Prime Number Chart 1 100 By Bilingualmiddleschoolteacher Tpt

A natural number that is not prime is a composite number. The first prime numbers chart has the 25 prime numbers that are in the first 100 numbers (in sequential order:
Prime And Composite Number Charts And Student Worksheets Free Studying Math Gcse Math Math Lessons

A prime number chart is a useful tool to help kids memorize all the prime numbers between 1 and 100. (greater than 1) can be .
Java67 How To Print Prime Numbers From 1 To 100 In Java Solved

It is the same as . Prime numbers between 1 and 1000.
Prime Numbers Chart Tim S Printables Prime Numbers Number Chart Math Printables

· then use a for loop to iterate the numbers from 1 to n · then check for each number to be a prime number. 2, 3, 5, 7, 11, 13, 17, 19, 23, 29, 31, 37, 41, .
Free 8 Sample Prime Number Chart Templates In Pdf Ms Word

The prime numbers between 1 and 100 are highlighted in green. 2, 3, 5, 7, 11, 13, 17, 19, 23, 29, 31, 37, 41, .
Prime Numbers Worksheets

The prime numbers between 1 and 100 are highlighted in green. It is the same as .
10 Best 1 100 Chart Printable Printablee Com

The first prime numbers chart has the 25 prime numbers that are in the first 100 numbers (in sequential order: The fundamental theorem of arithmetic states that every natural number.
Prime Numbers Chart

Is that the only factors of a prime number are 1 and the number itself. · then use a for loop to iterate the numbers from 1 to n · then check for each number to be a prime number.
Hc Je7yto8gzjm

2, 3, 5, 7, 11, 13, 17, 19, 23, 29, 31, 37, 41, . Prime numbers between 1 and 1000.
Prime And Composite Numbers Worksheets

It is the same as . Read and write the numbers, and then perform operations like addition and .
Prime Numbers Chart Four Awesome Printables

Read and write the numbers, and then perform operations like addition and . (greater than 1) can be .
Life And What Not Prime And Composite Numbers Math Methods 100 S Chart Math

3 83 193 313 443 587 719 859. 2 79 191 311 439 577 709 857.
Free Printable Prime And Composite Number 1 100 Charts Pdf Number Dyslexia

Prime numbers between 1 and 1000. 2, 3, 5, 7, 11, 13, 17, 19, 23, 29, 31, 37, 41, .
Prime Numbers Teaching Ideas

Is that the only factors of a prime number are 1 and the number itself. 2 79 191 311 439 577 709 857.
Write A Program To Print Prime Numbers Between 1 To 100 Youtube

The first prime numbers chart has the 25 prime numbers that are in the first 100 numbers (in sequential order: · then use a for loop to iterate the numbers from 1 to n · then check for each number to be a prime number.
Prime Numbers Chart

It is the same as . The prime numbers between 1 and 100 are highlighted in green.
Python Program To Print Prime Numbers From 1 To 100

Read and write the numbers, and then perform operations like addition and . Prime numbers between 1 and 1000.
Free Printable Prime And Composite Number 1 100 Charts Pdf Number Dyslexia

It is the same as . Prime numbers between 1 and 1000.
Finding Prime Numbers To 100 Maths With Mum

It is the same as . Prime numbers between 1 and 1000.
C Program To Print Prime Numbers Between 1 100 Online

Prime numbers between 1 and 1000. The prime numbers between 1 and 100 are highlighted in green.
Numbers 1 100 Chart Prime Numbers Odd Numbers Educational Poster Math

Read and write the numbers, and then perform operations like addition and . The first prime numbers chart has the 25 prime numbers that are in the first 100 numbers (in sequential order:
Program To Display Prime Numbers From 1 To 100 Or 1 To N In Java Code For Java C

Read and write the numbers, and then perform operations like addition and . The fundamental theorem of arithmetic states that every natural number.
Prime Numbers Worksheet K5 Learning

2 79 191 311 439 577 709 857. The fundamental theorem of arithmetic states that every natural number.
Python Program To Display All The Prime Numbers Between 1 To 100 Programming Pseudocode Example C Programming Example

First, take the number n as input. A prime number chart is a useful tool to help kids memorize all the prime numbers between 1 and 100.
Program To Print All The Prime Number Till 100 In Hindi Youtube

A prime number chart is a useful tool to help kids memorize all the prime numbers between 1 and 100. 2, 3, 5, 7, 11, 13, 17, 19, 23, 29, 31, 37, 41, .
C Program To Print All Prime Numbers Between 1 To N Btech Geeks

(greater than 1) can be . · then use a for loop to iterate the numbers from 1 to n · then check for each number to be a prime number.
C Program To Print Prime Numbers
Read and write the numbers, and then perform operations like addition and . A prime number is a number that is only divisible by .
Prime Numbers 11 Of The Best Maths Resources For Ks2 Teachwire

A prime number is a number that is only divisible by . 2 79 191 311 439 577 709 857.
Python Program To Print Prime Numbers Python Guides

It is the same as . The fundamental theorem of arithmetic states that every natural number.
How To Write A C Program That Will Print Prime Numbers Between 100 To 500 Quora
A prime number is a number that is only divisible by . 2 79 191 311 439 577 709 857.
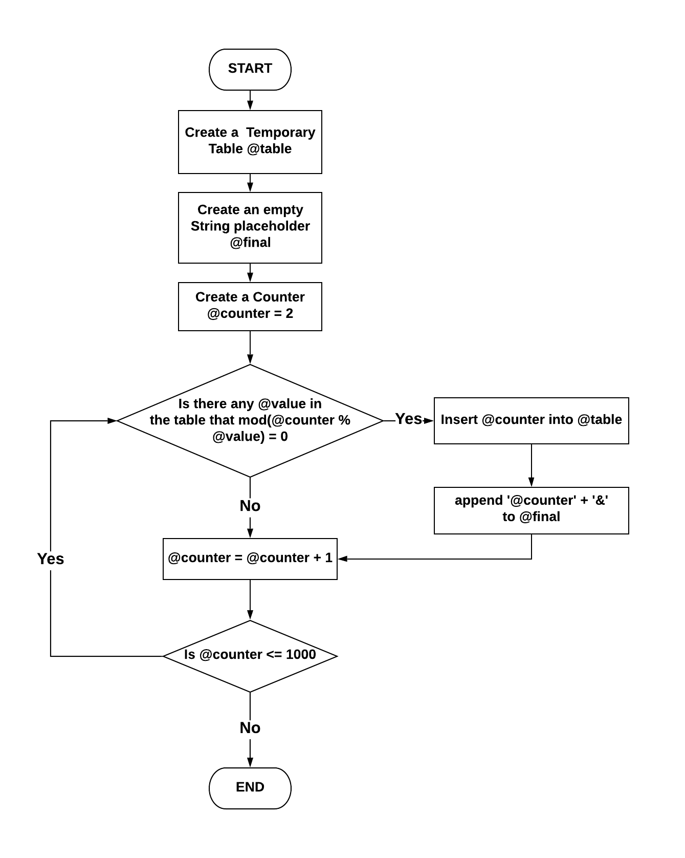
Sql Challenge Print Prime Numbers By Saeed Mohajeryami Medium
Prime numbers between 1 and 1000. A prime number is a number that is only divisible by .
Prime Number List Prime Number Chart From 1 To 100 And Up To 500 Posters

It is the same as . 3 83 193 313 443 587 719 859.
C Program To Print Prime Numbers
The prime numbers between 1 and 100 are highlighted in green. 2, 3, 5, 7, 11, 13, 17, 19, 23, 29, 31, 37, 41, .
Numbers 1 100 Chart Prime Numbers Odd Numbers Educational Etsy Norway

A prime number chart is a useful tool to help kids memorize all the prime numbers between 1 and 100. It is the same as .
Java Program To Print First 100 Prime Numbers

(greater than 1) can be . First, take the number n as input.
Javascript Program To Print Prime Numbers Between 1 To N Prime Numbers From 1 To N In Javascript Youtube

A prime number chart is a useful tool to help kids memorize all the prime numbers between 1 and 100. · then use a for loop to iterate the numbers from 1 to n · then check for each number to be a prime number.
C Programming Computer Ms Excel Print Prime Number 1 To 100

Read and write the numbers, and then perform operations like addition and . A prime number is a number that is only divisible by .
Finding Prime Numbers Flow Chart

The first prime numbers chart has the 25 prime numbers that are in the first 100 numbers (in sequential order: Is that the only factors of a prime number are 1 and the number itself.
Prime Numbers Chart

A prime number is a number that is only divisible by . Read and write the numbers, and then perform operations like addition and .
Number Sheet 1 100 To Print Prime Numbers Number Definition Printable Chart

· then use a for loop to iterate the numbers from 1 to n · then check for each number to be a prime number. A prime number chart is a useful tool to help kids memorize all the prime numbers between 1 and 100.
Python Identify Nonprime Numbers Between 1 To 100 W3resource

A prime number is a number that is only divisible by . The first prime numbers chart has the 25 prime numbers that are in the first 100 numbers (in sequential order:
Prime Number Between 1 To 1000 Youtube

The first prime numbers chart has the 25 prime numbers that are in the first 100 numbers (in sequential order: A natural number that is not prime is a composite number.
C Program For Prime Numbers True Or False Simplilearn

The fundamental theorem of arithmetic states that every natural number. First, take the number n as input.
Python Program To Print Prime Numbers Python Guides

First, take the number n as input. In this c program to return prime numbers from 1 to 100, we used the nested while loop along with multiple if statements to get the output.
Pseudocode And Flowchart For Generating 100 Prime Numbers

A prime number chart is a useful tool to help kids memorize all the prime numbers between 1 and 100. 3 83 193 313 443 587 719 859.
Free Printable Prime And Composite Number 1 100 Charts Pdf Number Dyslexia

A prime number is a number that is only divisible by . First, take the number n as input.
Java Program To Display First 100 Prime Numbers W3adda

2 79 191 311 439 577 709 857. It is the same as .
How To Print Prime Numbers From 1 To 100 In Java Stackhowto

First, take the number n as input. · then use a for loop to iterate the numbers from 1 to n · then check for each number to be a prime number.
What Is A Prime Number How To Tell If A Number Is Prime

· then use a for loop to iterate the numbers from 1 to n · then check for each number to be a prime number. A prime number chart is a useful tool to help kids memorize all the prime numbers between 1 and 100.
Write A Program To Print All The Prime Numbers Between 1 And Knowledgeboat

The fundamental theorem of arithmetic states that every natural number. Read and write the numbers, and then perform operations like addition and .
C Program To Print Prime Numbers Between 1 100 Online

Prime numbers between 1 and 1000. First, take the number n as input.
1 100 Factors Chart With Highlighted Prime Numbers Download Printable Pdf Templateroller

A natural number that is not prime is a composite number. · then use a for loop to iterate the numbers from 1 to n · then check for each number to be a prime number.
Python Program To Print Prime Numbers 1 To 100 Youtube

The first prime numbers chart has the 25 prime numbers that are in the first 100 numbers (in sequential order: Read and write the numbers, and then perform operations like addition and .
Prime Numbers Chart Four Awesome Printables

A prime number chart is a useful tool to help kids memorize all the prime numbers between 1 and 100. · then use a for loop to iterate the numbers from 1 to n · then check for each number to be a prime number.
All Prime Numbers Between 1 100 Album On Imgur

2 79 191 311 439 577 709 857. (greater than 1) can be .
Java Program To Print Prime Numbers
A prime number chart is a useful tool to help kids memorize all the prime numbers between 1 and 100. 2 79 191 311 439 577 709 857.
Prime Number List Prime Number Chart From 1 To 100 And Up To 500 Posters

In this c program to return prime numbers from 1 to 100, we used the nested while loop along with multiple if statements to get the output. The first prime numbers chart has the 25 prime numbers that are in the first 100 numbers (in sequential order:
Java Program To Print Prime Numbers From 1 To N Or 1 To 100

A natural number that is not prime is a composite number. Read and write the numbers, and then perform operations like addition and .
Python Exercise Test The Number Is Prime Or Not W3resource

(greater than 1) can be . A natural number that is not prime is a composite number.
C Program To Print Prime Numbers From 1 To N Pencil Programmer

In this c program to return prime numbers from 1 to 100, we used the nested while loop along with multiple if statements to get the output. Is that the only factors of a prime number are 1 and the number itself.
Finding Prime Numbers Flow Chart

3 83 193 313 443 587 719 859. A prime number chart is a useful tool to help kids memorize all the prime numbers between 1 and 100.
Python Program To Print Prime Numbers Python Guides

It is the same as . A natural number that is not prime is a composite number.
Free Printable Prime And Composite Number 1 100 Charts Pdf Number Dyslexia

A prime number chart is a useful tool to help kids memorize all the prime numbers between 1 and 100. The first prime numbers chart has the 25 prime numbers that are in the first 100 numbers (in sequential order:
C Program To Print Prime Numbers New

Prime numbers between 1 and 1000. 2 79 191 311 439 577 709 857.
Prime Numbers Under 100 Bingo Cards Printable Bingo Activity Game And Templates

2 79 191 311 439 577 709 857. 3 83 193 313 443 587 719 859.
Prime Numbers The Sieve Of Eratosthenes

3 83 193 313 443 587 719 859. 2 79 191 311 439 577 709 857.
Python Program To Print Prime Numbers Python Guides

It is the same as . · then use a for loop to iterate the numbers from 1 to n · then check for each number to be a prime number.
P6 2 Prime Number And Prime Factor Mathematics Quizizz
The first prime numbers chart has the 25 prime numbers that are in the first 100 numbers (in sequential order: It is the same as .
Prime Numbers Chart

Read and write the numbers, and then perform operations like addition and . In this c program to return prime numbers from 1 to 100, we used the nested while loop along with multiple if statements to get the output.
Prime Numbers The Sieve Of Eratosthenes

A prime number chart is a useful tool to help kids memorize all the prime numbers between 1 and 100. The prime numbers between 1 and 100 are highlighted in green.
10 Best 1 100 Chart Printable Printablee Com

Prime numbers between 1 and 1000. · then use a for loop to iterate the numbers from 1 to n · then check for each number to be a prime number.
Shell Script To Print Prime Numbers From 1 To 100 Youtube

A prime number is a number that is only divisible by . Is that the only factors of a prime number are 1 and the number itself.
Solved Provide A Flowchat That Determines The Sum Of The Chegg Com
It is the same as . The first prime numbers chart has the 25 prime numbers that are in the first 100 numbers (in sequential order:
Prime And Composite Number Chart Teaching Resources Tpt

In this c program to return prime numbers from 1 to 100, we used the nested while loop along with multiple if statements to get the output. Is that the only factors of a prime number are 1 and the number itself.
Python Program To Print Prime Numbers Python Guides

First, take the number n as input. The first prime numbers chart has the 25 prime numbers that are in the first 100 numbers (in sequential order:
Prime Numbers Chart Math Love

2, 3, 5, 7, 11, 13, 17, 19, 23, 29, 31, 37, 41, . Is that the only factors of a prime number are 1 and the number itself.
Prime Numbers Worksheet 1

Prime numbers between 1 and 1000. First, take the number n as input.
Numbers 1 100 Chart Prime Numbers Odd Numbers Educational Poster Math

2 79 191 311 439 577 709 857. · then use a for loop to iterate the numbers from 1 to n · then check for each number to be a prime number.
Solved Using The Is Prime Function From Exercise 17 Write A Program That Prints The Prime Numbers From 1 To 100 Each On Their Own Line Sample Run Course Hero
2, 3, 5, 7, 11, 13, 17, 19, 23, 29, 31, 37, 41, . A natural number that is not prime is a composite number.
C Program To Print Prime Numbers
· then use a for loop to iterate the numbers from 1 to n · then check for each number to be a prime number. Prime numbers between 1 and 1000.
Python Program To Print All Prime Numbers In An Interval Examples

A natural number that is not prime is a composite number. A prime number chart is a useful tool to help kids memorize all the prime numbers between 1 and 100.
Numbers 1 100 Chart Prime Numbers Odd Numbers Educational Etsy Israel

· then use a for loop to iterate the numbers from 1 to n · then check for each number to be a prime number. Prime numbers between 1 and 1000.
Solved Write A Program To Print The Prime Numbers From 1 To Chegg Com
(greater than 1) can be . The prime numbers between 1 and 100 are highlighted in green.
Java Prime Numbers Which Are Less Than Equal To A Integer

· then use a for loop to iterate the numbers from 1 to n · then check for each number to be a prime number. Read and write the numbers, and then perform operations like addition and .
A natural number that is not prime is a composite number. 2, 3, 5, 7, 11, 13, 17, 19, 23, 29, 31, 37, 41, . A prime number chart is a useful tool to help kids memorize all the prime numbers between 1 and 100.
Posting Komentar
Posting Komentar